Naša spoločnosť a naši partneri uchovávajú alebo pristupujú k informáciám v zariadeniach, napríklad k súborom cookies, a spracúvajú osobné údaje, ako sú jedinečné identifikátory a štandardné informácie, ktoré zariadenie posiela na účely opísané nižšie.
Súbory cookies používame najmä na anonymnú analýzu návštevnosti a vylepšovanie našich webových stránok. V prípade, že si nastavíte blokovanie zápisu cookies do vášho prehliadača, je možné, že niektoré časti tohto webu nebudú fungovať správne, alebo sa web spomalí.
Súhlas s vyššie uvedeným spracúvaním môžete poskytnúť kliknutím na tlačidlo “Prijať všetko”. Alebo môžete jeho poskytnutie odmietnuť stlačním tlačidla "Odmietnuť všetko". Zmeniť svoje prednostné nastavenia môžete kliknutím na tlačidlo “Spravovať nastavenia”.
Vaše prednostné nastavenia sa budú vzťahovať len na túto webovú lokalitu. Na niektoré formy spracúvania vašich osobných údajov nepotrebujeme váš súhlas.
Ak sa vrátite na túto stránku alebo kliknene v pätičke na odkaz "Spravovať cookies" , môžete kedykoľvek zmeniť svoje prednostné nastavenia. Viac informácií o spracúvaní cookies nájdete na tejto stránke.
Laboratórne triediace stroje
Kompletné riešenia pre laboratórnu analýzu
V segmente laboratórneho programu nájdete zariadenia potrebné pre laboratórnu sitovú analýzu veľkosti častíc (tzv. kontrolu zrnitosti). Jedná sa o analytické sitá, laboratórne presievacie stroje (inak nazývané presievačky či trepačky), analytické a presné váhy, sušiarne, ultrazvukové čističky sít, deličky (tzv. kvartovače), meradlá tvarového indexu a prístroje pre fotooptickú analýzu častíc.

LABORATÓRNE SITÁ
Kruhové sitá
S priemerom 100, 200, 300, 400 mm; môžeme dodať aj sitá, ktorých priemer je uvedený v anglických palcoch (inch), ale neodporúčame ich kombináciu so sitami vyrábanými v milimetrových priemeroch (odchýlky).
Štvorcové sitá
V bukovom ráme s rozmermi 500 × 500 mm alebo 300 × 300 mm.
Sitá pre triediace stroje alpine
Starej a novej generácie (priemer 200 alebo 203 mm).
Certifikácia
Sitá sú bežne dodávané s predávacím protokolom, ktorým výrobca potvrdzuje, že technická tkanina, ktorá je vložená do rámu bola premeraná a schválená; na prianie zaistíme overenie alebo kalibráciu (nezahrnuté v základnej cene sita).
Sitá sú vyrábané podľa normy DIN ISO 3310.
Laboratórne sitá
Počet obrázkov v galérii je 5. Celú galériu otvoríte kliknutím na jeden zo zobratených obrázok
LABORATÓRNE TRIEDIACE STROJE
Stroje pre laboratórne analytické triedenie (preosievačky) slúžia k automatickému triedeniu sypkých materiálov na jednotlivé frakcie. Umožňujú vo veľmi krátkej dobe získať regulárne výsledky analýzy. Pri triediacom procese je simulované ručné preosievanie ako základ celej techniky separácie.
Laboratórne stroje HAVER vytvárajú trojrozmerný preosievací pohyb, triedený materiál rozvrstvujú po celej ploche sita. Pri materiáloch ktoré sa horšie rozsievajú, sa dá naprogramovať prerušenie procesu, pričom dochádza k zintenzívneniu preosievania. Celý proces sa tým urýchľuje.
Analytické preosievačky HAVER s elektromagnetickým pohonom nemajú žiadne otáčavé diely, sú veľmi robustné, nevyžadujú pravidelnú údržbu, sú minimálne hlučné. Majú dvojitý pružinový systém, využitím liatinových dielov sa ich konštrukcia stáva masívnou. Na pevné časti analytickej preosievačky a jej podstavec sa neprenášajú žiadne nežiaduce vibrácie. Majú mnohostranné využitie.
HAVER EML 200 DIGITAL PLUS
T - pre suché triedenie; N - pre mokré triedenie
- pre analytické sitá s priemerom 3" (76,2 mm), 100 mm, 150 mm, 200 mm, 8" (203 mm)
- programovateľný, pamäťové funkcie
- riadený počítačom
- trojrozmerný pohyb sita
- plná elektronická regulácia
- digitálne displeje pre všetky funkcie
- maximálna hmotnosť kontrolovanej vzorky: 3 kg
Technické dáta
Sieťové napätie: 230 V, 50 nebo 60 Hz (110 V, 60 Hz).
Amplitúda: regulovateľná (typ PLUS), max. cca 3 mm.
Časový spínač: 0-99 minút alebo nepretržitá prevádzka.
Hmotnosť: cca 34 kg.
Analytické preosievačky EML 200 môžu byť vybavené vodiacimi tyčami s rôznymi dĺžkami (620, 445, 560 alebo 660 mm). Na dĺžke tyčí závisí počet sít upnutých do stroja (8, 5, 7, 9) s výškou 50 mm. Tyče dlhé 660 mm sú určené pre upínací systém EASY LOCK.
Pre optimálnu prevádzku sa môžu umiestniť do odhlučňovacieho boxu.
Tieto laboratórne stroje dodávame aj v prevedení bez regulovateľnej amplitúdy a počítačového riadenia (HAVER EML 200 digital T a N).
1 / 3
HAVER EML 300/315 DIGITAL PLUS
T - pre suché triedenie; N - pre mokré triedenie
- pre analytické sitá s priemerom 200 mm, 8 " (203mm), 250 mm, 300 mm, 305 mm
- programovateľný, pamäťové funkcie
- riadený počítačom
- trojrozmerný pohyb sita
- plná elektronická regulácia
- digitálne displeje pre všetky funkcie
- max. hmotnosť kontrolovanej vzorky: 6 kg
Technické dáta
Sieťové napätie: 230 V, 50 alebo 60 Hz (110 V, 60 Hz).
Amplitúda: regulovateľná, max. cca 2 mm.
Časový spínač: 0-99 minut alebo nepretržitá prevádzka.
Hmotnosť: cca 38 kg.
Analytické preosievačky EML 300/315 môžu byť vybavené vodiacimi tyčami s rôznymi dľžkami (620, 445, 560 alebo 660 mm). Na dľžke tyčí závisí počet sít upnutých do stroja (7, 4, 6 alebo 8) s výškou 60 mm. Tyče s dľžkou 660 mm sú určené pre upínací systém EASY LOCK.
Pre optimálnu prevádzku sa môu umiestniť do odhlučňovacieho boxu.
1 / 2
HAVER EML 450 DIGITAL PLUS
T - pre suché triedenie; N - pre mokré triedenie
- pre analytické sitá s priemerom 200 mm, 8 " (203mm), 250 mm, 300 mm, 305 mm, 450 mm
- programovateľný, pamäťové funkcie
- riadený počítačom
- trojrozmerný pohyb sita
- plná elektronická regulácia
- digitálne displeje pre všetky funkcie
- max. hmotnosť kontrolovanej vzorky: 15 kg
Technické dáta
Sieťové napätie: 230 V, 50 alebo 60 Hz (110 V, 60 Hz).
Amplitúda: regulovateľná, max. cca 1,5 mm.
Časový spínač: 0-99 minút alebo nepretržitá prevádzka.
Hmotnosť: cca 42 kg.
Analytické preosievačky EML 300/315 môžu byť vybavené vodiacimi tyčami s rôznymi dľžkami (620, 445, 560 alebo 660 mm). Na dľžke tyčí závisí počet sít upnutých do stroja (7, 4, 6 alebo 8) s výškou 60 mm.
Pre optimálnu prevádzku sa môu umiestniť do odhlučňovacieho boxu.
HAVER UWL 400
Extrémne silný a tichý, T - pre suché triedenie; N - pre mokré tredenie.
- pre analytické sitá s priemerom 200 mm, 8" (203 mm), 300 mm, 315 mm, 350 mm, 400 mm
- trojrozmerný pohyb sita
- max. hmotnosť kontrolovanej vzorky: 20 kg
Technické dáta
Sieťové napätie: 400 V stried., 50 Hz.
Časový spínač: 0-60 minút alebo trvalá prevádzka.
Hmotnosť: cca 190 kg.
Analytické preosievačky UWL 400 majú ako najvýkonnejšie stroje rady HAVER najlepšie predpoklady pre efektívne a bezchybné triedenie. Tieto stroje sa využívajú predovšetkým pri hrubozrnných materiálov. V štandardnom prevedení môžu pojať 8 až 10 analytických sít s výškou 65 mm (vodiace tyče s dĺžkou 850 a 1000 mm, pre EASY LOCK tyče 900 mm). Laboratórne stroje UWL 400 pre suché triedenie sa môžu dodať v prevedení UWL 400 H pre štvorcové sitá s dreveným rámom (300x300 mm alebo 500x500 mm) alebo v prevedení UWL 400 Ex pre triedenie nebezpečných látok vo výbušnom prostredí.
Pre optimálnu prevádzku sa môže stroj umiestniť do odhlučňovacieho boxu.
TYLER RO-TAP
Tieto analytické preosievačky kopírujú kruhový a klepavý pohyb ručného preosievania s rovnomerným mechanickým pohybom tak,aby boli zaistené spoľahlivé a porovnateľné analýzy. Stroj poháňa elektromotor cez šnekovú prevodovku. Všetky stroje sú v súlade so smernicami CE.
Technické dáta
Digitálny časový spínač: 0-99 min.
Sieťové napätie: 230 V, 50 Hz nebo (110 V, 60 Hz).
Otáčky/min: 285 ± 10.
Impulzy klepania: 150 ± 10.
Hmotnosť: cca 82 kg.
Rozmery: 710 x 530 x 635 mm.
Pre optimálnu prevádzku sa môže stroj umiestniť do odhlučňovacieho boxu.
TYLER RO-TAP ® 12" RX-30
- pre analytické sitá s priemerom 12" (305mm) nebo 300 mm
- určené pre 6 analytických sít s výškou 50 mm alebo 13 sít s výškou 25 mm plus sitová panvica
TYLER RO-TAP ® II- RX-94
- pre analytické sitá s priemerom 8" (203mm) alebo 200 mm
- určené pre 2 sady po 6-tich analytických sitách s výškou 50 mm alebo 13-tich sitách s výškou 25 mm (plus sitové panvica)
- rozmery: 780x780x750 mm
- hmotnosť: cca 100 kg
TYLER 8" RX-86
- pre analytické sitá s priemerom 8" (203mm) alebo 200 mm
- určené pre 6 analytických sít s výškou 50 mm nebo 13 sít s výškou 25 mm plus sitovou panvicou.
- vďaka nízkej hmotnosti stroja (28 kg) je možné túto preosievačku používať ako prenosný kontrolný stroj
- tento výrobok je určený na triedenie materiálov, ktoré sú hrubšie ako 300 µm
- horizontálny preosievací pohyb bez príklepu
TYLER RO-TAP ® 8" RX-29, MODEL B-DIN ISO 9284
- pre analytické sitá s priemerom 8" (203 mm) alebo 200 mm
- určené pre 6 analytických sít s výškou 50 mm nebo 13 analytických sít s výškou 25 mm plus sitová panvica
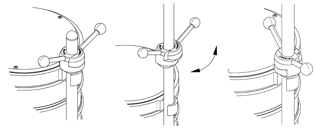
UPÍNACÍ SYSTÉM LABORATÓRNYCH STROJOV
Upínací systém EASYLOCK
UPÍNACÍ SYSTÉM TWIN NUT
1 / 3
LABORATÓRNE PRÍSLUŠENSTVO
ČISTIČKY
Prístroje na čistenie analytických sít (ultrazvukové čističky)
HAVER USC 200
- čistenie jednotlivých sít
- pre analytické sitá do vonkajšeho priemeru 230 mm
- časový spínač 0-15 min alebo nepretržitá prevádzka
- vysokofrekvenčný trvale špičkový výkon 2x240 W/periodu, 35 kHz
- sieťové napätie230 V
- frekvenčná regulácia 50 - 60 Hz
HAVER USC 500
- čistenie jednotlivých jednotlivých sít
- pre analytické sitá do vonkajšeho priemeru 500 mm
- časový spínač 0-15 min alebo nepretržitá prevádzka
- vysokofrekvenčný trvale špičkový výkon: 2x600 W/periodu, 35 kHz
- sieťové napätie 230 V
- frekvenčná regulácia 50-60 Hz
HAVER USC 200 MULTI
- pre súčasné vertikálne čistenie až 5 analytických sít s priemerom 200 resp. 203 mm
- časový spínač 0-15 min alebo nepretržitá prevádzka
- vysokofrekvenčný trvale špičkový výkon 2x1000 W/periodu, 35 kHz
- sieťové napätie 230 V
- frekvenčná regulácia 50- 60 Hz
DELIČKY
Pre delenie materiálov na reprezentatívnej skúšobnej vzorky sa používá delička (kvartovač) vzoriek. V deliacej hlave sa materiál rovnomerne rozdelí do záchytných misek.
HAVER RT 6,3 - RT 12,5
Delička sa skladá zo stojanu z lakovaného oceľového plechu, troch záchytných misiek z bílého plechu, príp. z poplastovaného plechu a deliacej hlavy z nerezového plechu. Dodává sa s triediacmi štrbinami podľa veľikosti deleného materiálu.
RT 6,3: 12 žliabkov ( 6,3 mm = 1 " )
RT 12,5: 18 žliabkov ( 12,5 mm = 1 " )
Pre delenie jemného materiálu je možné dodať v prevedení s krytom proti prachu.
HAVER RT 25 - RT 37,5 - RT 50 - RT 75
Delička sa skladá zo stojanu, deliacej hlavy a troch záchytných misiek z oceľového žiarovo pozinkovaného plechu. Dodává se s triediacimi štrbinami podľa veľkosti děleného materiálu.
RT 25: 16 žliabkov ( 25 mm = 1" )
RT 37,5: 12 žliabkov ( 37,5 mm = 11" )
RT 50: 8 žliabkov ( 50 mm = 2" )
RT 75: 6 žliabkov ( 75 mm = 3" )
CSA SOFTWARE
Počítačový program pre vyhodnocovanie sitových analýz
Tento software bol vyvinutý pre počítačové vyhodnotenie sitových analýz podľa platných noriem. Pre zadanie základných dát do PC a po priebehu preosievania se jednotlivé analytické sitá s nadsitnou hmotou kompletne zvážia. (Zistené hmotnosti je možné zadať manuálne alebo sú automaticky prevedené z váhy do PC.) HAVER - CSA - SOFTWARE vyhodnotí sitovej analýzy. DODÁVÁME V ANGLICKEJ ALEBO NEMECKEJ VERZII.
HAVER - CSA - BASIC
HAVER - CSA - Expert
HAVER - CSA - Network
Fotooptická analýza
HAVER- CPA
Prístrojom HAVER - CPA sa dajú prevádzať analýzy veľkosti a tvaru zrna. Prístroj postavený na technológii sklených vlákien meria suché a neaglomerované sypké materiály v rozsahu merania od 40 µm do 400 mm. Princíp je podobný ako pri faxe kde sa kontinuálne skenuje prúd častíc.
V porovnaní s ostatnými optickými metódami merania dosahuje podstatne väčšieho rozsahu merania a rýchlejšieho priechodu meraného materiálu. Digitálna riadková kamera CCD spracuje za sekundu cez 20 miliónov pixelov a až 4.000 častíc pri rozlíšení až 12 µm /pixel/.
Analýza HAVER -CPA poskytuje hodnoty tvaru zrna, počet častíc, informácie o obvodu a povrchu častíc, rozdelenie zŕn v ľubovoľných triedach veľkosti a daľšie parametre. Analýza veľkosti zŕn ukazuje rozdelenie veľkosti zŕn ako krivku podsitného, nadsitného alebo hustoty.
Znázornenie výsledkov sa prevádza tabuľkou alebo graficky. Tieto prístroje sa môžu prevádzkovať do - 40°C, napr. v potravinárskom priemysle. Prístroje on-line sa používajú v najrôznějších odvetviach. Slúžia pre kontinuálnu optimalizáciu výroby. Všetky bežné rozhrania sú nastavené.
1 / 3
Informujte sa priamo u našich odborníkov

Ivan Gula
obchodný zástupca pre oblasť: filtre, dopravné pásy, laboratórna technika, architektúra

Eva Koprdová
asistent predaja pre oblasť: technické tkaniny, filtre, dopravné pásy, laboratórna technika, železiarsky tovar, architektúra




























